Typ 06001
calcPageSize())" loading="lazy" />Das im Bild dargestellte Produkt kann vom verkauften Produkt abweichen.
Verwendungsbereich
Verwendungsbereich:
Vorgesehen als Überströmventil gegen unzulässige Drucküberschreitung in nicht zulassungspflichtigen
Leitungssystemen und Druckbehältern.
Zulässige Betriebstemperatur: -196°C (77K) bis +65°C (338K)
Zertifikate
Transportable Pressure Equipment Directive (2010/35/EU)
Pressure Equipment Directive (2014/68/EU)
Gost Ukraine (Gost Ukraine)
License of Special Equipment (China) (TS)
Korean Gas Safety (KGS)
Transportable Pressure Equipment Regulation 2009 (TPER 2009)
Datenblätter
Betriebsanleitung
Livebestand: Nicht auf Lager pcs (AUF LAGER)
| Anwendung | LNG |
|---|---|
| Anwendungsbereich | Transport, Lagerung, Betankung, Prozesse |
| Artikelnummer | CR_06001_2 |

Werkstoffe |
DIN EN |
ASTM |
|
|---|---|---|---|
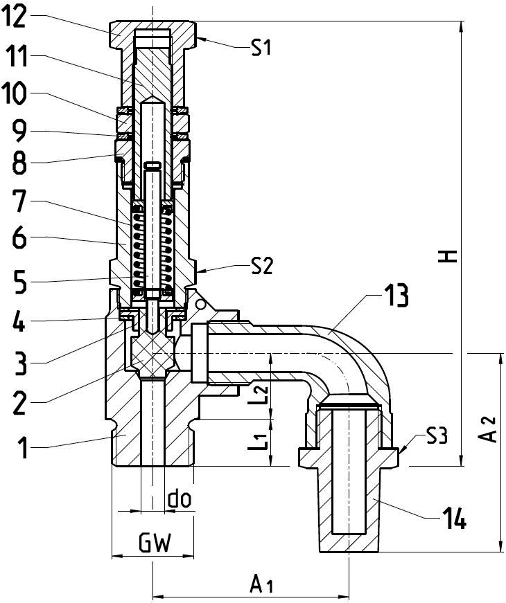
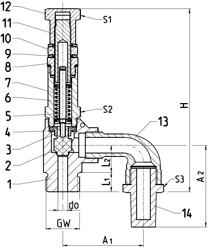
1 |
Gehäuse |
CW610N |
B 283 UNS C36500 |
2 |
Teller |
PTFE / Elektrocarbon (25%) |
|
3 |
Führungsscheibe |
CW614N |
B 283 UNS C38500 |
4 |
Kupferring |
Kupfer |
Kupfer |
5 |
Spindel |
CW614N |
B 283 UNS C38500 |
6 |
Federhaube |
CW614N |
B 283 UNS C38500 |
7 |
Feder |
1.4571 |
A 313 Grade 316Ti |
8 |
Verschlussschraube |
CW614N |
B 283 UNS C38500 |
9 |
Ring |
FKM/V4A |
|
10 |
Mutter |
CW614N |
B 283 UNS C38500 |
11 |
Stellschraube |
CW614N |
B 283 UNS C38500 |
12 |
Verschlussschraube |
CW614N |
B 283 UNS C38500 |
13 |
Rohrbogen |
CW614N |
B 283 UNS C38500 |
14 |
Schalldämpfer |
CC483K |
B 30 UNS C90800 |
Typ 06001 |
Technische Daten |
|
|---|---|---|
Nenngröße |
GW |
1/2 |
Sitzdurchmesser |
d0 |
6,0 |
Größenschlüssel |
.X. |
0400 |
Höhe |
H |
103 |
Länge |
L1 |
12 |
Länge |
L2 |
17 |
Länge |
A1 |
51 |
Schlüsselweite |
S1 |
19 |
Schlüsselweite |
S2 |
19 |
Schlüsselweite |
S3 |
22 |
Gewicht |
ca. kg |
0,39 |
Produktvarianten
Filtern Sie unser Produkt nach spezifischen Attributen| Name | Anschlussart Austritt | Anschlussart Eintritt | Anschlussdimension Austritt | Anschlussdimension Eintritt | Link zum Produkt |
|---|
- ...
- ...

