Typ 01343 - Regelventil mit Antrieb

Das im Bild dargestellte Produkt kann vom verkauften Produkt abweichen.
Verwendungsbereich
Verwendungsbereich:
Zugelassen für Luftgase, Dämpfe und tiefkalte verflüssigte Gase inkl. LNG.
Zulässige Betriebstemperatur: -196°C (77K) bis +120°C (393K)
Zertifikate
EAC - Eurasian Conformity (032/2013)
EAC - Eurasian Conformity (010/2011)
ABS (Class Rules)
Transportable Pressure Equipment Directive (2010/35/EU)
type-examination for LNG (DIN EN 12567)
Gost Ukraine (Gost Ukraine)
ClassNK (Class Rules)
License of Special Equipment (China) (TS)
DNV (Class Rules)
Korean Gas Safety (KGS)
Pressure Equipment Directive (2014/68/EU)
Pressure Equipment Safety Regulation 2016 (PESR 2016)
BV (Class Rules)
RINA (Class Rules)
CCS (Class Rules)
Betriebsanleitung
Livebestand: Nicht auf Lager pcs (AUF LAGER)
Anwendung | LNG, Luftgase |
---|---|
Anwendungsbereich | Transport, Lagerung, Betankung, Prozesse |
Artikelnummer | CR_01343 |

Werkstoffe |
DIN EN |
ASTM |
|
---|---|---|---|
1 |
Gehäuse |
1.4308 |
A 351 CF8 |
2 |
Dichtung bis DN50 |
PTFE / Elektrocarbon (25%) |
|
2a |
Dichtung ab DN65 |
PTFE |
|
3 |
Abschlusskörper |
1.4301 |
A 276 Grade 304 |
4 |
Oberteildichtung |
PTFE |
|
5 |
Oberteilflansch |
1.4301 |
A 276 Grade 304 |
6 |
Oberteilschrauben |
1.4301/A2 |
A 194 B8 |
7 |
Verlängerungsrohr |
1.4541 |
A 213 TP 321 |
8 |
Spindel |
1.4301 |
A 276 Grade 304 |
9 |
Stopfbuchspackung |
Graphit / PTFE / MICA |
|
10 |
Stopfbuchsmutter |
1.4305 |
A 276 Grade 303 |
11 |
Jochstangen |
1.4404 |
A 276 Grade 316L |
12 |
Gleitbuchse |
CW452K |
B 159 UNS C51900 |
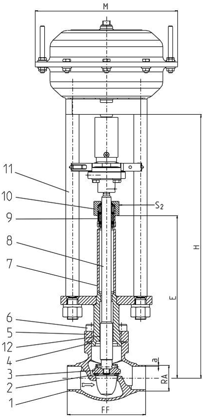
Typ 01343 - Standardausführung |
Technische Daten |
|||||||||
---|---|---|---|---|---|---|---|---|---|---|
Nenngröße |
DN |
15 |
20 |
25 |
32 |
40 |
50 |
65 |
80 |
100 |
Größenschlüssel |
.X. |
1521 |
2026 |
2533 |
3238 |
4048 |
5060 |
657x |
8088 |
0114 |
Baulänge |
FF |
85 |
100 |
115 |
115 |
130 |
155 |
205 |
245 |
280 |
Höhe |
H |
370 |
370 |
375 |
405 |
420 |
425 |
510 |
575 |
635 |
Länge |
E |
195 |
200 |
200 |
230 |
230 |
235 |
300 |
300 |
300 |
äußerer Rohr-Ø ISO 1127 |
RA |
21,3 |
26,9 |
33,7 |
38,0 |
48,3 |
60,3 |
76,1 |
88,9 |
114,3 |
Wandstärke Rohr ISO 1127 |
a |
2,0 |
2,0 |
2,0 |
2,0 |
2,0 |
2,0 |
2,9 |
3,2 |
6,0 |
äußerer Rohr-Ø ASTM A312 |
RA |
21,34 |
26,67 |
33,4 |
- |
48,26 |
60,33 |
73,03 |
88,90 |
114,3 |
Wandstärke Rohr ASTM A312 |
a |
Abmessungen nach S10 oder S40 |
||||||||
Muffentiefe |
b |
10 |
13 |
13 |
- |
13 |
16 |
16 |
16 |
20 |
Antrieb-Ø |
M |
|||||||||
Schlüsselweite |
S2 |
30 |
30 |
30 |
36 |
36 |
36 |
36 |
36 |
41 |
Gewicht ohne Antrieb |
ca. kg |
2,2 |
2,4 |
3,1 |
3,8 |
6,5 |
9,0 |
15,2 |
20,0 |
28,0 |
Hub |
mm |
20 |
20 |
20 |
30 |
40 |
30 |
40 |
40 |
40 |